



Electrofusion Tapping Saddle
Electrofusion Tapping Saddle for HDPE Pipeline Systems
Short Description
The Electrofusion Tapping Saddle is designed to create a safe and reliable branch connection on HDPE pipelines without cutting the main pipe. It is widely used in gas distribution, potable water supply, irrigation systems, and industrial pipeline networks.
Key Features
- Stable and secure outlet connection
- Suitable for pressurized and non-pressurized HDPE systems
- PE100 material with good mechanical strength
- Built-in heating wire for uniform fusion
- Resistant to corrosion and chemical environments
- Wide size range for different mainline diameters
- Compatible with common electrofusion welding machines
Applications
The Electrofusion Tapping Saddle is suitable for:
- Municipal water pipeline networks
- Gas distribution systems
- Industrial water and chemical systems
- Mining and slurry pipelines
- Agricultural irrigation projects
- Underground utility distribution
Made from high-quality PE100 materials, the saddle integrates a stable electrofusion wire that ensures even heat distribution during fusion. Once installed, it forms a strong, permanent, and leak-proof joint that meets international standards. It is a practical solution for new connections, network extensions and pipeline upgrades.
Installation Guide
- Clean the surface of the main pipe.
- Peel the oxidation layer evenly within the saddle contact area.
- Position the tapping saddle and clamp it firmly.
- Connect the terminals to the electrofusion machine.
- Follow the welding parameters indicated on the fitting.
- Allow cooling before drilling or opening the outlet.
- Drill the main pipe using an approved tapping tool.
Why Choose Xinda Plastic Pipe Co., Ltd Electrofusion Fitting Series
- Over 24 years of HDPE fittings manufacturing experience.
- Complete product lines:Electrofusion Fitting Series、PE/Steel Transition Fitting Series、Socket Joint Series、Butt Fusion Fitting Series.
- High-precision copper wire embedding for consistent welding quality.
- In-house QC lab ensures every fitting is inspected and batch-traced.
- Comprehensive support for OEM and project supply.
- Technical team provides fusion guidance and project support.
- The Electrofusion Fitting Series is designed for connecting HDPE (High-Density Polyethylene) pipes through a reliable andleak-proof electrofusion process.
- These fittings use embedded heating elements that, when energized, melt the HDPE surface and create a strong, homogeneous joint between pipes or other fittings.
- Engineered for water, gas, and industrial piping systems, this series offers superior performance, easy installation, andlong-term durability — ensuring system integrity even under demanding operating conditions.
- Using advanced electrofusion technology, it ensures a leak-free, long-lasting joint that meets international standards for safety and performance.Electrofusion of HDPE uses electrofusion fittings which have small copper wires coiled around the inside.
- Electric current is then run through those wires using an electrofusion processor in turn melting the HDPE on the inside of the fitting and the outside of the pipe.
- Electrofusion of HDPE uses electrofusion fittings which have small copper wires coiled around the inside. Electric current is then run through those wires using an electrofusion processor in turn melting the HDPE on the inside of the fitting and the outside of the pipe.
| Packing Method | Carton |
| Trading Method | EXW, FOB, CFR, CIF, DDU |
| Payment Method | T/T, L/C at sight |
| Supply Ability | 100000 Ton/Year |
| Certificate | ISO、CE、GB/EN12201、EN1555、KS |
| Production Lead Time | Depending on the order quantity.Normally about 2~3 weeks for 20′ GP, 3~4 Weeks for a 40′GP. |

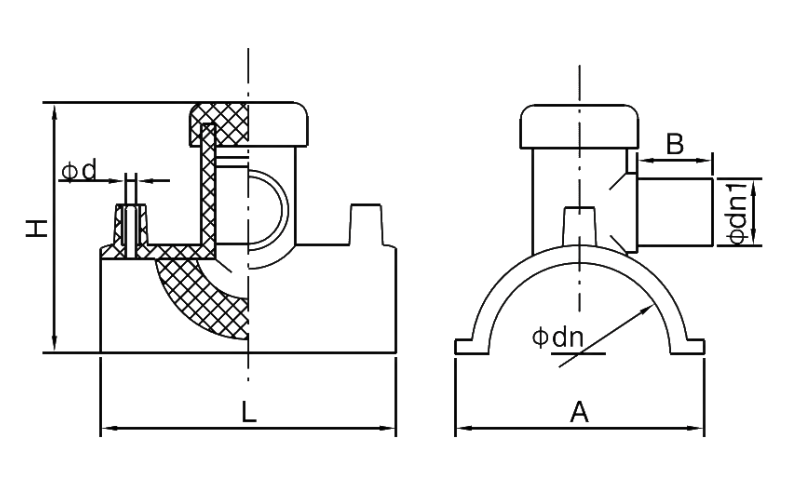
| (Specifications) φdnXφdn1 | L | A | B | H | φd | Item Number |
| 63×20 | 115 | 100 | 52 | 122 | 4.7 | XDF-63/20 |
| 63×25 | 115 | 100 | 52 | 122 | 4.7 | XDF-63/25 |
| 63×32 | 115 | 100 | 65 | 122 | 4.7 | XDF-63/32 |
| 75×20 | 115 | 100 | 52 | 122 | 4.7 | XDF-75/20 |
| 75×25 | 115 | 100 | 52 | 122 | 4.7 | XDF-75/25 |
| 75×32 | 115 | 100 | 65 | 122 | 4.7 | XDF-75/32 |
| 90×20 | 130 | 143 | 56 | 145 | 4.7 | XDF-90/20 |
| 90×25 | 130 | 143 | 56 | 145 | 4.7 | XDF-90/25 |
| 90×32 | 130 | 143 | 56 | 185 | 4.7 | XDF-90/32 |
| 90×63 | 140 | 140 | 85 | 185 | 4.7 | XDF-90/63 |
| 110×20 | 130 | 155 | 55 | 145 | 4.7 | XDF-110/20 |
| 110×25 | 130 | 155 | 55 | 145 | 4.7 | XDF-110/25 |
| 110×32 | 130 | 155 | 60 | 150 | 4.7 | XDF-110/32 |
| 110×40 | 145 | 160 | 63 | 180 | 4.7 | XDF-110/40 |
| 110×50 | 145 | 160 | 61 | 177 | 4.7 | XDF-110/50 |
| 110×63 | 140 | 155 | 73 | 200 | 4.7 | XDF-110/63 |
| 125×25 | 130 | 155 | 55 | 145 | 4.7 | XDF-125/25 |
| 125×63 | 140 | 155 | 73 | 200 | 4.7 | XDF-125/63 |
| 160×25 | 142 | 199 | 66 | 169 | 4.7 | XDF-160/25 |
| 160×32 | 142 | 197 | 72 | 169 | 4.7 | XDF-160/32 |
| 160×50 | 190 | 240 | 85 | 235 | 4.7 | XDF-160/50 |
| 160×63 | 190 | 240 | 80 | 235 | 4.7 | XDF-160/63 |
| 160×90 | 190 | 240 | 125 | 235 | 4.7 | XDF-160/90 |
| 180×25 | 142 | 199 | 66 | 169 | 4.7 | XDF-180/25 |
| 200×63 | 190 | 250 | 85 | 235 | 4.7 | XDF-200/63 |
| 200×90 | 190 | 250 | 120 | 235 | 4.7 | XDF-200/90 |
| 225×32 | 193 | 253 | 65 | 235 | 4.7 | XDF-225/32 |
| 225×63 | 190 | 250 | 85 | 235 | 4.7 | XDF-225/63 |
| 225×90 | 190 | 250 | 120 | 235 | 4.7 | XDF-225/90 |
| 250×63 | 190 | 305 | 91 | 250 | 4.7 | XDF-250/63 |
| 250×90 | 190 | 305 | 118 | 250 | 4.7 | XDF-250/90 |
| 280×63 | 190 | 305 | 91 | 250 | 4.7 | XDF-280/63 |
| 280×90 | 190 | 305 | 118 | 250 | 4.7 | XDF-280/90 |
| 315×63 | 190 | 315 | 85 | 250 | 4.7 | XDF-315/63 |
| 315×90 | 190 | 315 | 155 | 250 | 4.7 | XDF-315/90 |
Q1: What is an Electrofusion Tapping Saddle used for?
A1:It is used to create a new tapping outlet on an HDPE pipeline without cutting the main pipe.
Q2:.How to buy the product?
A2:Contact with us by email or by Trade Manager or wechate/whatsapp, and inform us all information what you want, or tell us what's kind of profducts you want? We will contact with you immediately, or we could recommend style to you.
Q3:Can you put your Design and logo on product?
A3:Yes, we have professional design service team, we can make any sample as your design, and also could put your logo on products.Moulds injection or leaser printing according your demand or your quantity.
Q4:What's the payment term?
A4:We can accept for L/C, T/T. Any other payment as your request.
Q5:Still have a lot of questions?
A5:Please feel free to contact with me as below name card,you can send email or add to your contacts and send me your question or inquiry ,welcome.
Physical Address
No.88 North Road,
Hemudu Site Town, Yuyao, Zhejiang
Work Hours
Monday to Friday: 7am - 7pm
Weekend: 10am - 5pm
Phone Numbers
TEL: +86-15088499999
FAX: +86-15088499999










